After reading the following description on page 12 of the manual...
SLOW: When SLOW is used together with CHASE or PHASE, the synchronizer overrides a sudden, slight change in the timecode by nudging the slave back into sync without causing noticeable pitch variation ("Slow Lock" or "Soft Lock").
...that suggests that if the MIDIizer makes large changes in tape speed there would be a noticeable variation in the pitch of the audio.
Yes, but as we have already agreed, the tapes are kept in sync. It is the audio signal that has been slowed or accelerated - independent of tape speed, which is where the conundrum arises. If, taking the example of simple musical notes recorded at a slower tempo, they become physically spaced over more tape. What therefore does the machinery cause to be placed on the tape in the gaps thus caused? Logically it must just be the noise floor.
To time stretch audio without changing the pitch, very small portions of the audio will have to be repeated over and over. One way to do this is by using a special tape player with rotating heads, as I mentioned in a previous post.
Take a look at the following pages:
Pitch Shifters, pre-digital (Valhalla blog)
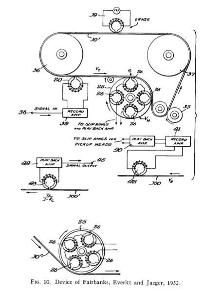
The Eltro and the Voice of HAL (Wendy Carlos)
In particular, take a look at this picture from the first link:

And read over this text excerpt from the second link:
| Say you mounted four [heads] on a small upright cylinder, and could rotate this "drum" in either direction at any speed. Before the tape begins to move those heads could repeatedly "scan" a short section of audio track and unendingly play the sound at that one spot. Start the tape moving, keep spining the heads against the direction of the tape's motion. The relative head-to-tape speed would now be faster than normal, shifting the pitch of the audio upwards. But the length of tape would take the same amount of time to play. Which some audio people pointed out would give us a nice way to increase the pitch of a recording, without changing its duration! Instead rotate the head drum in the opposite direction, so the gaps move with the flow of the tape, as if trying to catch up with it, like cars passing on a highway move apart rather slowly. The relative head to tape speed in this case would be slower than normal. Yet again, the same length of tape would take the usual amount of time to playback. Result: you'd decrease the pitch of a recording, without changing its duration. Simple and clever, no? Finally, let's install a small differential gearing to couple the capstan (which drives the tape) to the rotation of the head drum. If you did it correctly, you could maintain a constant head-to-tape speed, no matter how slow or fast the tape itself moved. You'd have a practical way to alter the duration of a recording, without altering its pitch (i.e., time compression / expansion). |
Modern computers and digital devices probably use more advanced versions of the same idea.
_____
I think the MIDIizer and tape decks you would use with it can not time stretch audio from the tape. However, a MIDI device in this setup could easily generate notes that are longer or shorter without changing pitch.
The MIDIizer mainly helps convert between the time code signals in absolute time on the tape (hours, minutes, seconds, frames) and the time signals in musical time used by the MIDI device (measures, beats, clocks). Because a piece of music in a MIDI device may need to change tempo, the conversion factor between absloute time and musical beats may need to change in the middle of the piece of music. But when this happens the tape would not change speed, only the MIDI device would know to generate notes that are longer or shorter.
Taken from 'Multi-Track Recording - Brent Hurtig, 1988':
‘SMPTE-to-MIDI translators allow you to convert a given amount of time to a MIDI tempo or to a total number of measure numbers. For example, let’s say you’ve created a sequenced instrumental riff that runs for one minute five seconds. A producer comes to you and says… “We love it, but it’s got to be one minute on the nose.” You could fool around with the sequencer’s tempo setting, but with a translator there’s an elegant alternative: just programme a ‘total song time’ of one minute and the tempo will speed up (or slow down if you are under time) to make the song fit the given time to the subframe’
I don't know how much latitude is possible with this manipulation, but it does suggest that it can be done. As you say, the tape would not change speed however the audio is going to be either compressed or stretched on the available tape - but how?
Your quote says "let's say you've created a sequenced instrumental riff". That is referring to a musical composition (a sequence) in a MIDI device (a sequencer).
As previously mentioned, MIDI devices can easily generate longer or shorter notes and keep the pitch the same.
Tape decks can not easily play audio on the tape longer or shorter and keep the pitch the same.